Skip to content
Search for:
Home
AIML
6G
NTN
LTE
5GNR
RF Design
IoT
DevOpsTest
Telco Cloud
O-RAN
Privacy Policy
Blog
Explore, Learn and Share
Search for:
Home
AIML
6G
NTN
LTE
5GNR
RF Design
IoT
DevOpsTest
Telco Cloud
O-RAN
Privacy Policy
Blog
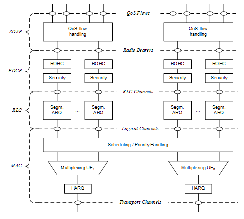
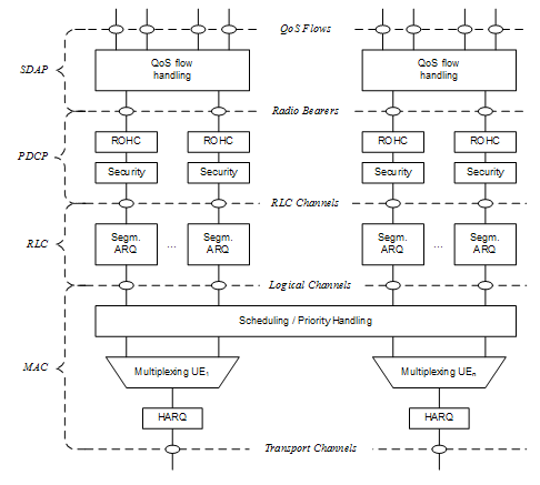
Downlink L2 5GNR
Downlink L2 5GNR
by
Author
·
September 4, 2017
Previous story
5G NR User Plane Protocol , What’s new Over LTE in 5G NR
Follow us on linkedIn
Live Traffic
Website Counter
Website Counter